背景及概述[1][2]
对溴又名4-溴,1-溴-4-甲基。常温下为无色液体,不溶于水,能溶于乙醇、。对溴为有毒化学品,吞食有害,对眼睛、呼吸系统和皮肤有刺激作用。明火可燃。对溴是一种有机合成原料,广泛应用于燃料和医药合成工业中,是制造对溴溴苄、对溴二溴苄和对溴甲醛等的中间体。高纯度的对溴是重要的畅销药物-抗高血压药物losantan的中间体。
制备[1]
对溴的合成主要有溴化和对胺的重氮化反应两条路线。溴化途径多为催化溴化,条件苛刻难控制,得到的异构体副产物很多,精馏分离有难度,且溴的工业处理比较麻烦。目前工业上常用对胺的重氮化反应途径生产对溴,以对胺为原料,经过重氮化、合成、精馏后的产品,产品的纯度可以达到99%,但是产品的收率为60%~80%,产品收率不理想。cn201310495723.9提供一种对溴的合成工艺,对传统工艺进行改进,达到提高产物收率的目的。包括有如下步骤:向带有搅拌器、冷凝器、温度计和滴液漏斗的反应锅中加入对胺和盐酸,搅拌并加热至50~60℃使对胺溶解,冷却至10~12℃;滴加亚硝酸钠溶液,用淀粉碘化钾试纸检验到达终点后继续搅拌30min;向反应液中加入溴化亚铜氢溴酸溶液,25~30℃下搅拌2h,然后将反应溶液升温至70~80℃并在此温度下保温0.5h;向反应液中通入水蒸气蒸馏,接收馏出液,用分液漏斗分出对溴层,对产物进行减压蒸馏,收集104-106℃的馏分得到的白色结晶即为对溴。本发明所述的对溴的合成工艺,重氮化过程中采用过量的盐酸,避免重氮过程中副产物发生,而溴化亚铜在氢溴酸保护下,更容易与重氮盐反应,反应效率高,反应速度快,产物收率达到97.82%,纯度达到99.99%。
储运设备[2]
现有的对溴的储运装置在储运过程中易使对溴分解出有毒气体,而且这些储运装置结构也复杂,制作成本也高,不利于大量的对溴的储运。
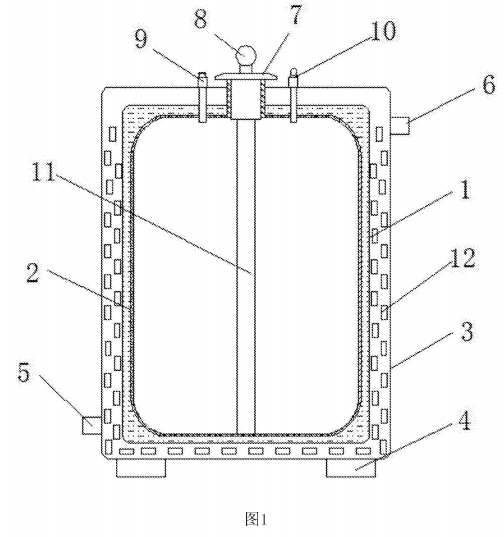
cn201720831932提供一种对溴的储运装置,包括内罐、塑料膜、外罐、平衡脚垫、进水管、出水管、顶盖、压力计、泄压阀、温度计、延伸管和冰晶粒,所述塑料膜设置在内罐的内壁上;所述外罐设置在内罐的外端,并与内罐之间形成空腔;所述平衡脚垫固定安装在外罐的底端;所述进水管设置在外罐的下端一侧;所述出水管设置在外罐的上端另一侧;所述顶盖固定安装在外罐的顶端中心位置;所述压力计穿过 顶盖伸入到安装在内罐中的延伸管内;所述泄压阀固定安装在外罐上端一侧,并连接在内罐内;所述温度计固定安装在外罐的上端另一侧,并连接在内罐内;所述冰晶粒设置在外罐和内罐之间的空腔内。与现有技术相比,本实用新型的有益效果是该新型一种对溴的储运装置,结构简单,储运安全,制造成本低,能够大量储运,使用简单等优点,适合推广使用。
图1是本实用新型整体结构效果图;图中:1-内罐、2-塑料膜、3-外罐、4-平衡脚垫、5-进水管、6-出水管、7-顶盖、8-压 力计、9-泄压阀、10-温度计、11-延伸管、12-冰晶粒。

应用 [3]
一、用于制备4-溴甲酸
4-溴甲酸(4-bromobenzoic acid)又称作对溴甲酸,为白色或浅粉红色结晶。4-溴甲酸是重要的精细化学品,可用作香料原料、4-溴甲酸酯的中间体、测量锶、有机微量分析测碳、氢和溴的标准品。目前4-溴甲酸的生产方法主要有两种,一种是由高锰酸钾氧化对溴制得对溴甲酸,成本太高,且收率只有80%;另一种方法是由溴与乙酰氯反应生成4-溴乙酮,然后再将4-溴乙酮与次氯酸钠反应生成4-溴甲酸,该方法反应步骤多,污染严重。针对上述现有技术存在的问题,亟待研究开发出一种污染小、成本低、收率高的制备4-溴甲酸的新工艺。
针对现有技术存在的问题,本发明cn201810447513.5提供一种4-溴甲酸的制备方法,利用氧气氧化对溴制得4-溴甲酸,收率可达98%,产物纯度可达99%以上,污染小, 成本低。为了实现本发明的上述目的,本发明采用如下技术方案:一种4-溴甲酸的制备方法,是以对溴作为起始原料,冰醋酸为溶剂,氧气为氧化剂,利用液相氧化法在催化剂作用下催化氧化对溴,控制反应温度为75~85℃,当反应体系中的对溴的含量为初始含量的0.5wt%以下时结束反应,然后冷却过滤得4-溴甲酸粗品和滤液,再将所述4-溴甲酸粗品进一步纯化制得成品,所述4-溴甲酸成品的熔点为252~254℃,纯度为99%以上。
二、用于制备2-氰基-4’-甲基联
2- 氰基-4’-甲基联(商品名:沙坦联,sartanbiphenyl) 是沙坦类抗高血压药物(如洛沙坦、缬沙坦、伊普沙坦、伊贝沙坦等)的关键中间体。沙坦类药物具有作用广泛、降压作用显著、服用方便、副作用小等特点,随着近年来一大批药物进入市场,2- 氰基-4’-甲基联中间体的市场用量日益增长,研究2-氰基- 4’-甲基联的制造技术显得尤为重要。
cn201210505581.5报道一种2-氰基-4’-甲基联的合成方法,包括下列步骤:
1)将邻溴苄腈溶入有机溶剂;
2)加入催化剂,搅拌下加热至30~60℃,并继续搅拌5~10min;
3)滴入对溴,于30~60℃搅拌2~4 h;
4)冷至室温, 加入稀盐酸调至ph=6~7,分出有机层
,5)水层用正己烷提取,合并有机层,水洗、干燥、蒸馏、重结晶得淡黄色针状晶体,即为产品2-氰基-4’-甲基联。
主要参考资料
[1] cn201310495723.9 一种对溴的合成工艺
[2] cn201720831932.x 一种对溴的储运装置
[3] cn201810447513.5 一种4-溴甲酸的制备方法
[4] cn201210505581.5 2-氰基-4’-甲基联的合成方法



